行业信息
料箱物流机器人新突破——多料箱并行搬运!
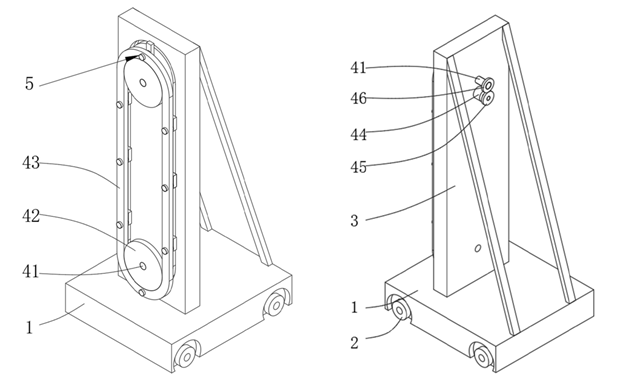
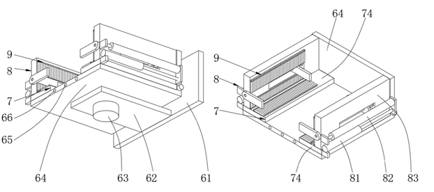
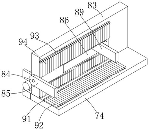
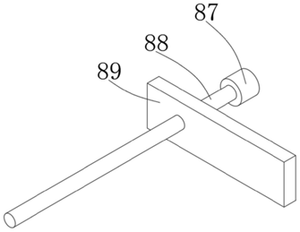
导语 在“目标货箱到人”拣选模式中,传统料箱搬运机器人因单机构设计需重复操作,且易因部件损坏导致停机,制约仓储效率。发明专利——料箱搬运物流机器人(授权号CN120096998B,授权日期2025.08.05)通过多机构协同与滚动摩擦创新,实现多料箱同步水平搬运,为智能仓储提供高可靠解决方案。 PART.01 技术背景 目前,行业中常见的料箱机器人方案通过结构之间的相互配合,虽然具备了可进行多层货架存储,提升仓储的最大吞吐量的同时,提升对货物的防护性的效果,但是在使用时,只有一个抱夹货叉,因此在对多个料箱进行搬运时,需要该抱夹货叉重复进行移动夹持,工作效率低,而且在抱夹货叉损坏时,整个机器人就不能继续使用,从而降低了实用性,且料箱与抱夹货叉之间为滑动摩擦,容易对机器人和料箱造成磨损。 PART.02 系统构成概况 发明专利——料箱搬运物流机器人整体结构示意图 该料箱搬运物流机器人系统构成丰富且设计精巧: 以车体为移动基座,车体底部有电力驱动的移动轮实现行走。车体顶部固定竖板,竖板上贯穿安装旋转机构,其通过两个带轮和同步带配合,能带动多个水平保持机构转动,进而改变伸缩夹持机构位置。 水平保持机构借助第二转轴、连接板等部件,在限位环槽作用下使被搬运料箱保持水平。 切换机构由侧板、底板、第二电机和 L 型板组成,可调节伸缩夹持机构方向。 可调节支撑机构通过双向丝杆和滑块,能带动支撑板相对移动,适应不同大小料箱。 伸缩夹持机构利用气缸带动夹板移动,电机带动挡板转动,实现对料箱的夹持、拉动和放置。 此外,滚动接触机构以支撑辊减小对料箱底部摩擦,挤压辊减小对料箱侧边磨损。 PART.03 专利亮点 1. 多料箱同步搬运与水平保持 通过旋转机构联动多个水平保持机构,实现多个料箱同步搬运。水平保持机构采用T型限位环槽与支撑轮配合,强制约束第二转轴仅平移不自转,确保搬运全程料箱水平无倾斜。单个机构损坏时,其余机构仍可独立运行,避免整机停机,显著提升效率。 旋转机构的结构示意图 水平持机构的部分结构示意图 2. 三重防脱落与自适应夹持 伸缩夹持机构通过双气缸驱动夹板夹持料箱,第四电机带动挡板旋转实现料箱拉动/放置。夹板内部增设单向丝杆与限位板,配合挡板形成双重锁定,防止搬运中料箱晃动脱落。可调节支撑机构通过双向丝杆动态调节支撑板间距,适配不同尺寸料箱。 部分结构示意图 伸缩夹持机构的部分结构示意图 可调节支撑机构的部分结构示意图 3. 滚动接触降磨损 滚动接触机构在支撑板顶部设置支撑辊,夹板两侧增设挤压辊,将料箱与机器人的滑动摩擦改为滚动接触,此设计能够“减小对料箱底部的摩擦”及“减小调节料箱位置时对侧边的磨损”,延长料箱使用寿命。 伸缩夹持机构和滚动接触机构的结构示意图 4. 智能识别与方向切换 切换机构集成识别探头与补光灯,通过第二电机驱动L型板旋转,动态调整夹持机构朝向,精准适应料箱上下位置,提升复杂场景适应性。 PART.04 应用场景分析 该料箱搬运物流机器人适用于电商仓储、制造业车间及第三方物流等需高频次搬运多规格料箱的场景。 适用于“目标货箱到人”拣选模式,同步搬运多订单料箱至拣选区,可显著提升密集存储区的出入库效率,减少机器人往返次数,尤其在电商大促期间,通过一次运行完成多个订单料箱的集货转运。滚动接触机构降低料箱表面磨损的特性,使其成为贵重包装或循环料箱(如医药冷链周转箱)长期使用的理想解决方案。 满足汽车零部件、电子元件等高密度存储与流转。水平保持机构确保搬运全程料箱无倾斜,完美适配锂电池模组、精密电子元件等易损货物的安全转运需求;可调节支撑机构与伸缩夹持机构的协同设计,支持同一工作站处理不同尺寸料箱(如汽车零部件不同规格零部件混存),无需更换设备。 滚动接触机构显著降低料箱磨损,适用于冷链、医药等频繁搬运场景,同时减少设备维护成本。 该发明专利——料箱物流机器人通过多机构协同与机械结构创新,突破传统料箱机器人的效率、可靠性及磨损瓶颈,为高动态、多规格的智能仓储场景提供高可靠性搬运方案。其具体工程实现效果有待市场检验,但专利本身提出的解决方案具有明确针对性和技术价值。 【注: 本文旨在传递技术创新信息,不构成任何形式的投资或采购建议。本文介绍的“料箱搬运物流机器人”技术方案基于官方公开的发明专利(公开号授权:CN120096998B,公开日期授权:2025.08.05,申请人授权:宏贤达科技集团有限公司)。 文中所示结构示意图及说明均源自该发明专利申请公开文本(说明书附图),仅用于技术原理阐释,版权归属申请人/发明人所有。】
扫一扫在手机上查看当前页面


